发布时间:2025-09-27
室温传感器TRC带塑料ABS外壳

室温传感器TRC带不锈钢外壳
描述
室温传感器TRC是壁挂式(空间装置)温度传感器。
室温传感器TRC设计用于墙面装置,用于感应加热,通风和空调系统的温度,室温传感器TRC与大多数控制管理系统兼容。
室温传感器TRC是直接输出温度传感器热敏电阻传感元件NTC10K或铂电感应元件PT1000,其他传感元件可依据要求提供。
室温传感器TRC能够配备塑料ABS外壳和不锈钢外壳。带有不锈钢外壳的TRC室温传感器是学校,兵营和公共建筑的故意损坏安全版本。
室温传感器TRC的外壳具有通风开口,壳体内部具有连接端子PCB和温度传感元件。
室温传感器TRC能够装置在表面上或导管盒上。
室温传感器TRC具有IP30保护。
TRC室温传感器具有简单的2线连接,可依据要求提供3线和4线。
室温传感器TRC的螺钉夹紧连接最大1.5mm
特征
•标准传感元件
-热敏电阻NTC10K
-白金PT1000
-依据要求提供其他传感元件
NTC1.8K,NTC5K,NTC20K,
Precon,KTY81-110,KTY81-210,LM235Z
NI1000,NI1000/5000,PT1000。
•螺钉夹紧连接最大1.5mm
•简单的2线连接
可依据要求提供3线和4线
•经济的温度测量方法
•IP30
•外壳
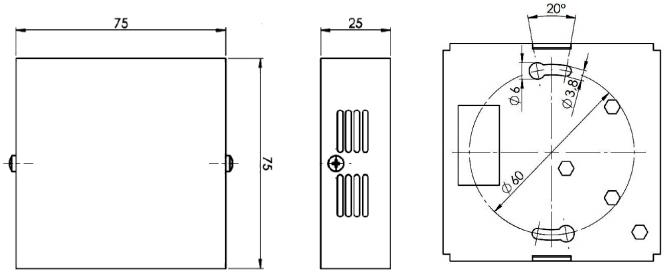
-塑料ABS87.5x87.5x30mm或
-不锈钢75x75x25mm
•指令2014/30/EU
DINEN61326-2-1:2013
塑料ABS外壳的尺寸

不锈钢外壳的尺寸

温度与阻力时间表
温度 PT100 PT1000 Ni1000 Ni1000 TK5000 NTC 1kOhm NTC 1,8kOhm NTC 3kOhm NTC 5kOhm ℃ Ohm Ohm Ohm Ohm Ohm Ohm Ohm Ohm -50 80,31 803,1 743 790,88 32886 200338 -40 84,27 842,7 791 830,83 18641 35658 100701 166555 -30 88,22 882,2 842 871,69 10961 21131 53005 87897 -20 92,16 921,6 893 913,48 6662 12838 29092 48322 -10 96,06 960,9 946 956,24 4175 7992 16589 27584 0 100 1000 1000 1000 2961 5095 9795,2 16300 10 103,9 1039 1056 1044,79 1781 3221 5971,12 9942 20 107,79 1077,9 1112 1090,65 1205 2212 3748,1 6244 25 109,74 1097,4 1141 1113,99 1000 1820 3000 5000 30 111,67 1116,7 1171 1137,61 834,2 1504 2416,8 4029 40 115,54 1155,4 1230 1185,71 589,2 1042 1597,5 2664 50 119,4 1194 1291 1234,97 424 735 1080,3 1803 60 123,24 1232,4 1353 1285,44 310,4 528 746,12 1246 70 127,07 1270 1417 1337,14 231 384 525,49 878 80 130,89 1308,9 1483 1390,12 174,5 284 376,85 630 90 134,7 1347 1549 1444,39 133,6 213 274,83 459 100 138,5 1385 1618 1500 103,7 162 203,59 340 110 142,29 1422 1688 1556,98 81,4 125 153,03 256 120 146,06 1460,6 1760 1615,36 64,7 97 116,58 195 130 149,82 1498,2 1883 1675,18 51,9 89,95 150 140 153,58 1535,8 1909 1736,47 42,1 70,22 117 150 157,31 1573,1 1987 1799,26 34,4 55,44 93 温度 NTC 10kOhm NTC 20kOhm KTY 81-210 KTY 11-6 KTY 81-110 KTY 81-121 NTC 10kPRECON LM235Z ℃ Ohm Ohm Ohm Ohm Ohm Ohm Ohm m Volt -50 1068,65 1035,91 515 510 454910 2232 -40 333282 804170 1158,95 1139,27 567 562 245089 2332 -30 175846 412798 1269,25 1250,39 624 617 137307 2432 -20 96659 220734 1385,15 1396,25 684 677 79729 2532 -10 55171 122439 1508,65 1495,86 747 740 47843 2632 0 32600 70440 1639,6 1630,21 815 807 29588 2732 10 19885 41544 1778,1 1772,32 886 877 18813 2832 20 12489 25341 1924,15 1922,17 961 951 12272 2932 25 10000 20000 2000 2000 1000 990 10000 2982 30 8058 15888 2077,8 2079,77 1040 1029 8195 3032 40 5329 10214 2238,9 2245,17 1122 1111 5593 3132 50 3606 6718 2407,6 2418,21 1209 1196 3894 3232 60 2492 4517 2583,8 2599,06 1299 1286 2763 3332 70 1756 3110 2767,5 2787,65 1392 1378 1994 3432 80 1260 2167 2958,8 2983,99 1490 1475 1462 3532 90 920 1541 3152,5 3188,08 1591 1575 1088 3632 100 682 1114 3363,9 3399,91 1696 1679 821 3732 110 513 818 3577,75 3619,5 1805 1786 628 3832 120 391 608 3799,1 3846,83 1915 1896 486 3932 130 457 4028,05 4081,91 2023 2003 380 4032 140 347 4188,1 4324,74 2124 2103 301 4132 150 266 4397,7 4575,31 2211 2189 240 4232
广东威敏通电子科技有限公司 版权所有
技术支持:东莞网站建设