发布时间:2025-09-27
方便和保护我们的家用电器已成为一个重要的问题时,处理
经济的进步和增长。本研究的重点是a的设计与施工双传感器热监测系统。该电路的工作原理是从外部输入监测温度
并与预先设定的温度值进行比较。的输出功率如果外部输入的温度为,则电路被切断或关闭,或报警被触发
等于或大于预先设定的温度值。这种方法涉及到线性的应用精密温度传感器,即,它们产生的电压与。成正比
温度。该系统主要由温度传感器和比较器组成。该系统采用12V电源供电。测试结果表明,该电路的功率输出
当加热装置关闭时,是否关闭加热装置或报警超过预设的温度水平。系统的一般操作和性能是相互依赖的
关于预设的温度值与外部温度之间的温差拟被监视。对整个系统进行了测试,发现其功能良好。
介绍
温度通常是测量的环境量,这些环境量对应于原生环境
感觉热和冷。这是由于大多数生物,化学,电子、机械和物理系统都受到温度的影响。在许多情况下,
有些工艺在一定温度范围内性能更好。还有,某些化学反应,生物过程甚至电子电路在有限的温度范围内表现得更好。
当需要优化这些过程时,系统用于控制温度必须在规定的范围内。温度传感器常用于
为这些控制系统提供输入。然而,在有些情况下曝光过多电子元器件要达到极高的温度,就会对其产生有利的影响
这可能会导致部件损坏。不过,有些组件甚至可以受低温影响而损坏。半导体器件和液晶显示器
(液晶显示器)温度过高会影响和损坏。随着当温度超过阈值时,应立即采取措施延长其使用寿命
系统的生命周期。在这些方面,温度传感有助于提高可靠性以及系统的生命周期
大多数温度监测装置都是为响应特定的(关键的)温度变化而设计的。
温度水平。它们通常与不同种类的警报器和灯结合在一起指示单元,在不可接受的温度水平下触发。这些温度
监测装置通常与温度传感器一起工作,传感器产生精确的电压输出,随温度线性变化。它们主要用于
监控工业机械、电锅炉、烘炉等与热能相关的活动这可以通过确保温度传感器和它的引线是相同的来实现
温度作为被测对象。这通常涉及制造一个好的机械和热接触。如果要用温度传感器测量液体中的温度
传感器可以安装在一个密封端金属管,然后可以浸浴或旋进水箱的螺纹孔中。
温度传感器为这些控制系统提供输入。当温度极限为超过这个限度,就必须采取行动来保护这个系统。在这些系统中,温度传感有助于提高可靠性。
在现代电子学中,更多的温度测量技术是可用。几种温度传感技术得到了广泛的应用。
最常见的其中包括热电偶、热敏电阻和传感器集成电路。这些温度传感器(“转换器”),说明了各种性能权衡。
温度范围、准确性、可重复性、符合通用曲线、尺寸和价格都涉及到温度
本系统使用的传感器为lm335,具有以下特点;(1)直接校准在开尔文,(2)1°C初始精度可用,(3)从400 u。
A至5mA, (4)小于1H动态阻抗,(5)校准方便,(6)成本低。这使它优于以往相关研究中使用的热敏电阻。
虽然,热敏电阻的温度范围比lm335宽,具有自热效应,通常在较高的温度下,它们的电阻较低,而且易碎,这就使得它
不适合这项研究。除具有温度传感器的优点外,还具有双重性该系统扩展了它的应用,这是不像以往的系统设计的热量监控。
互补金属氧化物半导体(CMOS),它提供性能合理,被广泛应用于本系统的建设中。在以前的
温度监测、晶体管逻辑集成电路的研究被使用。TTL器件功耗大,逻辑功能有限,
电源窄,兼容性低,整体成本高,而CMOS,低功耗,对外部噪声有良好的免疫力,对功率不敏感供应的变化,温度范围能力-48°C至52 cc[1]。
一般来说,是最多的CMOS的重要特性使其成为选择的逻辑。一个典型的温度监控装置具有温度传感器和响应温度变化的控制单元输入。
该系统的设计涉及触发一个报警,以表明预先设置温度已超过标准。
为了表达的清晰和整洁,文章分为五个部分。第一个介绍了一种双传感器热控制系统。与
本研究的主题在第二节中提出。在第三部分,我们概述了设计和实现程序。第四部分给出了实验结果和讨论
2. 相关工作
温度仪表和温度指示器是为温度监测而设计的和分析。这些仪器要么配备了完整的温度传感器,要么就是
需要温度传感器输入。温度是这种装置的主题。有关传感器是设备的核心。就像许多发明一样,温度计也是通过
许多科学家的工作被许多其他人改进了。在伽利略的相关著作中伽利略发明了另一种温度计。然而,他发明的仪器却不能
携带温度计的名称,作为一种仪器必须能够成为温度计测量温度的差异。温度计的前身,温度表是a
没有刻度的温度计,也就是说,它只表示温度差它只显示温度是高是低还是一样,但不像温度计
不能测量差异,也不能记录结果供以后参考。添加,加布里埃尔·华氏[4]是第一个用水银制作温度计的人。华氏温度
利用新发现的固定点,为其设计了第一个标准温标他把水的冰点和沸点分为180度选择32作为参考值(下不动点),生成的比例为
即使在测量可能的最低温度时,温度也不会降到零度以下吗用冰、盐和水的混合物在他的实验室里制作。尽管华氏温度也在变化
他用血液温度(不正确的测量)和冰点将他的体温换算成100度水是固定的,这是不正确的。华氏温标至今仍在使用。任何测温装置通常称为温度计。
最近的一些工作考虑用于自动化和监视不同系统的不同方法。在[7 8 9]考虑了使用红外线来计算一辆汽车里的乘客数量,以及通过短信服务远程控制家用电器的安全性和安全性人类的便利。
此外,上面提到的大多数论文都没有考虑到成本、可靠性和耐用性其设计过程中,最重要的是,本文采用了简单易行的构件来实现达到预期目标。
系统设计与实现
本节将讨论设计过程和用于此的组件的基本理论工作。本节又分为电路设计、分析和系统两个部分实现。
电路设计分析
该电路是根据各元件的工作方式和功能来设计的由数据表提供。整个零部件制造商的规格都是经过精心设计的
把考虑。该电路是针对最小或有限数量的元件而设计的简单。系统的模块化设计如下框图所示
图1:系统模块化设计框图
供电单元

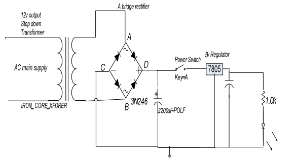
图2:电源模块。
如图2所示的电源单元设计为向电路提供5V电源。的交流电源的电压通过降压变压器降至12V采用桥式整流系统转换成直流。
这是通过连接交流来实现的沿对角线AB供电,直流输出从另一条CD线。这座桥整流器的系统输出仍然有许多波纹,必须平滑,以产生
真正的直流电容器能抵抗电压的变化。因此,它们被用来提供所需的平滑操作。对于7%纹波,计算纹波电压;
V电压峰值二次电压
以及电容率的值
其中负载为0.2A,频率为PHCN电源f, = 50Hz。
广东威敏通电子科技有限公司 版权所有
技术支持:东莞网站建设